SITEDRAIN 114 Sheet Drain 4' x 50' Roll - American Wick Drain
FREE SHIPPING
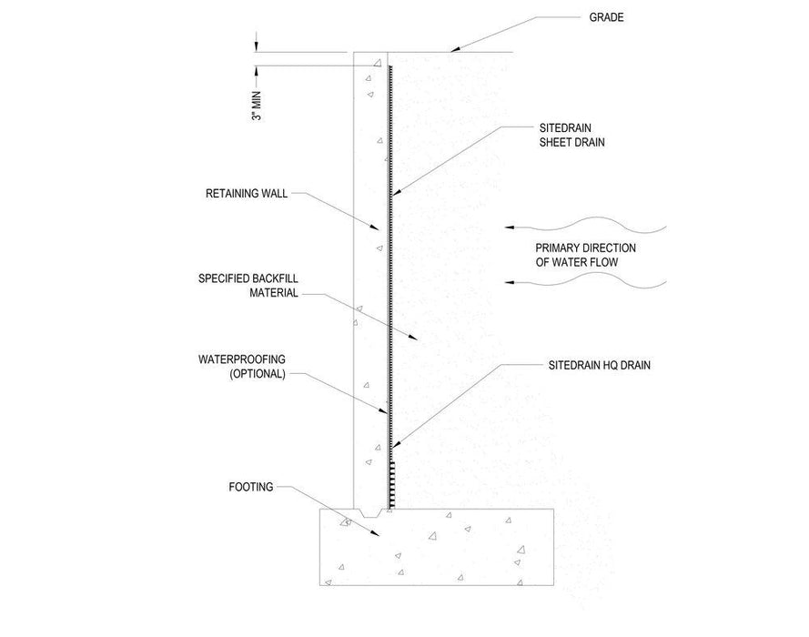
SITEDRAIN Sheet 114 geocomposite drain is composed of a dimpled polymeric core with a nonwoven geotextile bonded to the dimple side. The geotextile allows water to pass through while retaining backfill materials. The solid core allows water collection from one side and provides a continuous flow path to designated drainage exits.
SITEDRAIN Sheet 114 is an economical solution for single-sided subsurface drainage applications requiring moderate strength, high flow capacity, and a geotextile meeting AASHTO M288 Class 3 subsurface drainage requirements.



